電験3種 過去問演習

気づいた点は 運営フォーム(外部) で送れます。

通常演習
同じ年度・科目の順番で進みます。
10 / 16 問
一覧へ戻る 次へ進むと同じ条件を保持します。
問題演習

2021年度 電験3種 上期 - 法規 - 問10 2021年度 法規 問10

電験3種 配点 5
ログイン不要で試せます
問題文

まず問題文だけに集中します。採点後に要点と解説へ進みます。

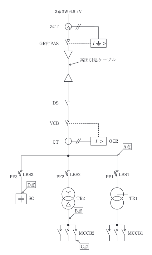
次のa)〜e)の文章は、図の高圧受電設備における保護協調に関する記述である。 これらの文章の内容について、適切なものと不適切なものの組合せとして、正しいものを次の(1)〜(5)のうちから一つ選べ。 a) 受電設備内(図中A点)において短絡事故が発生した場合、VCB (真空遮断器)が、一般送配電事業者の配電用変電所の送り出し遮断器よりも早く動作するようにOCR(過電流継電器)の整定値を決定した。 b) TR2(変圧器)の低圧側で、かつMCCB2 (配線用遮断器)の電源側(図中B点)で短絡事故が発生した場合、VCB(真空遮断器)が動作するよりも早く LBS2(負荷開閉器)のPF2 (電力ヒューズ)が溶断するように設計した。 c) 低圧のMCCB2(配線用遮断器)の負荷側(図中C点)で短絡事故が発生した場合、MCCB2(配線用遮断器)が動作するよりも先にLBS2 (負荷開閉器)のPF2(電力ヒューズ)が溶断しないように設計した。 d) SC(高圧コンデンサ)の端子間(図中D点)で短絡事故が発生した場合、VCB(真空遮断器)が動作するよりも早く LBS3 (負荷開閉器)のPF3 (電力ヒューズ)が溶断するように設計した。 e) GR付PAS(地絡継電装置付高圧交流負荷開閉器)は、高圧引込ケーブルで1線地絡事故が発生した場合であっても動作しないように設計した。

2021年度 法規 問10の問題図
図はタップで拡大できます。
選択肢

選択後、下の採点ボタンで確認します。

1 選ぶ 2 採点 3 解説
  • (1)
    a:適切 b:適切 c:適切 d:適切 e:不適切
  • (2)
    a:不適切 b:不適切 c:適切 d:不適切 e:適切
  • (3)
    a:適切 b:適切 c:不適切 d:不適切 e:不適切
  • (4)
    a:適切 b:不適切 c:適切 d:適切 e:適切
  • (5)
    a:不適切 b:適切 c:不適切 d:不適切 e:不適切
選択肢を選ぶ
選択だけではまだ採点されません。
続けるなら履歴保存

まずこの問題を試せます。無料登録で履歴保存を始めると、14日間は次にやる復習と苦手まで見えます。続けるならライトです。

広告枠
この枠は無料ユーザー向けに表示されます
広告なしで使いたい場合はライト以上へ切り替えると非表示になります。
プランを見る